Die Suche der Zukunft kommt - zumindest teilweise - ohne umständlich eingegebene Suchphrasen und sogar ohne eingesprochene Kommandos aus. Ein neues Google-Patent beschreibt, wie Informationen aus dem Kontext des Nutzers dazu verwendet werden können, seine Intention bei der Suche zu erkennen und ihm dazu passende Ergebnisse zu liefern.
Zu jedem Kontext die passenden Suchergebnisse
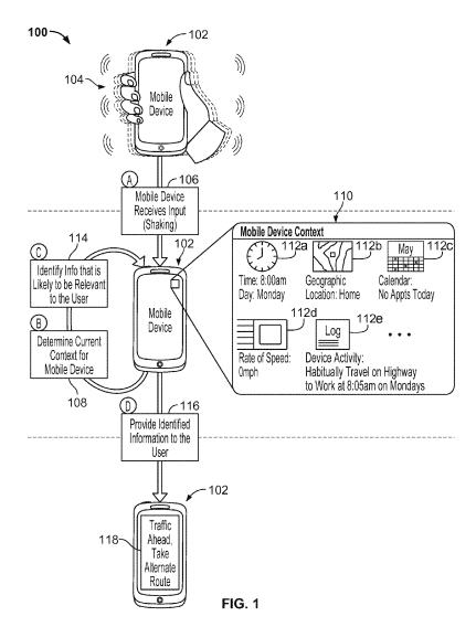
Die Idee ist, dass aus dem aktuellen Kontext, in dem sich der Nutzer gerade befindet, die passende Suchanfrage generiert wird. Ein Beispiel: Man ist gerade mit dem Auto auf dem Weg zum Bahnhof und möchte wissen, ob man seinen Zug noch rechtzeitig erreicht. Aus den gegebenen Kontextinformationen wie dem Zielort der Route (Bahnhof) und eventuell vorher gesuchten Zugverbindungen erkennt das System, welche Intention der Nutzer mit seiner Suche verfolgt. Es liefert ihm dann per Knopfdruck (oder, wie es im Patent illustriert ist, durch Schütteln) eine Übersicht der Verkehrslage auf dem Weg zum Bahnhof und ob es Verspätungen in der Zugverbindung gibt und ob das Ziel rechtzeitig erreicht werden kann.

Quelle: US-Patent 8,478,519
Vor allem auf mobile Geräte ausgelegt
Das Patent bezieht sich vor allem auf mobile Geräte. Die Smartphones der aktuellen Generation verfügen über unzählige Möglichkeiten, Kontextinformationen zu bestimmen – man denke nur an GPS oder eingebaute Sensoren. Dazu kommen Kamera, Mikrofon und nicht zuletzt die stetige Verbindung zum Internet.
Wörtlich heißt es in dem Patent:
A parameterless search query is a search query that queries a mobile computing device for information that is relevant to a user, but where the user does not provide any parameters to further specify what is relevant to the user at a given time.
Zu den Kontextfaktoren, die berücksichtigt werden, zählen zum Beispiel:
- Die geografische Position
- Informationen aus dem Kalender
- Verkehrslage
- Datum / Zeit
- Das Wetter
- Die herrschenden Lichtverhältnisse
- Früheres Klickverhalten
Diese Liste lässt sich beliebig erweitern.
Fortführung der Universal Search
Im Grunde wird mit der Auswertung von Kontextinformationen ein Weg weiter beschritten, der bereits für die Universal Search verwendet wird: Auch hier versucht man, mit Hilfe verschiedender Kontextinformationen zu ermitteln, ob für einen bestimmten Nutzer zu bestimmten Suchanfragen eher klassische Websuchergebnisse oder eher Bilder, Videos, Shopping-Treffer etc. interessant sind. Auch hier verwendet man unter anderem das Klickverhalten, die Such-Historie oder die geografische Position.
{extravote 1}



























